关于采购一体化泵站的招标公告
因我单位项目施工需要,现进行国内招标一体化泵站,欢迎具备条件的投标人前来报名,具体如下:
一、招标方式
公开招标
二、招标内容:
1、项目名称:一体化泵站采购
2、采购明细如下表:
序号 | 名称 | 数量 | 材质 | 型号 | 备注 |
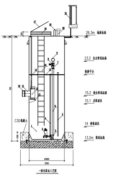
1 | 预制筒体 | 1只 | DN3800H13100 | 玻璃钢一次缠绕成型、防淤底座、厚度30mm | |
2 | 潜污泵 | 3台 | 250WQ500-15-45 | 海洋泵阀、一用一备 | |
3 | 自耦底座 | 3套 | DN250 | ||
4 | 水泵导轨 | 3套 | SS304 | 水泵配套 | 含提升链 |
5 | 静压式液位仪保护管 | 1套 | SS304 | DN50 | 含浮球计3套 |
6 | 压力管道 | 3套 | SS304 | DN250 | 含管路支架 |
7 | 止回阀 | 3只 | H250 | DN250 | |
8 | 闸阀 | 3只 | H250 | DN250 | |
1只 | H250 | DN800 | 进水管道前控制进水 | ||
9 | 出水口软连接 | 1只 | 橡胶 | DN500 | 碳钢法兰/橡胶、软连接、含连接螺栓 |
10 | 进水口软连接 | 1只 | 橡胶 | DN600 | 碳钢法兰/橡胶、软连接、含连接螺栓 |
11 | 进水口 | 1套 | 玻璃钢 | DN600 | |
12 | 格栅支架 | 1套 | SS304 | ||
13 | 粉碎格栅 | 1台 | SS304 | ||
14 | 格栅导轨 | 1套 | SS304 | 6#槽钢、6#葫芦链 | |
15 | 服务平台 | 1套 | GRP+SS304 | ||
16 | 扶梯 | 1套 | SS304 | ||
17 | 盖板 | 1套 | 压花铝板 | 5mm | |
18 | 安全格栅 | 1套 | GRP格栅板+SS304 | ||
19 | 扶手 | 1套 | SS304 | ||
20 | 通风管 | 2只 | SS304 | ||
21 | 电器控制柜 | 1套 | 不绣钢户外防雨型、PLC、触摸屏手机监控 | ||
22 | 手动暗杆式启闭机 | 1台 | |||
23 | 铸铁镶铜圆阀门 | 1台 | Φ800,双向承压 | ||
井筒由8.0m改为13.10m,与之配套的相关设备材料数据也随之改变。
3、一体化泵站图纸

4、安装调试要求:
除设备外,商家务必负责设备的安装及调试。
三、投标人条件:
1、投标人须具有独立法人资格(提供相关证明文件复印件,原件备查);必须具有相关资质证明材料;
2、不接受联合体投标;
3、报名者需遵纪守法,近两年未有重大违法行为和不良行为记录;
4、具备及时供货的能力。
四、报名提交资料要求:
报名应当提交电子版材料:
1、营业执照副本;代理商必须提供生产厂家有效代理证明原件
2、产品检测报告原件;
3、法人身份证明;
4、非法人代表参加的,提供授权委托书。
五、报名时间:
2021-9-2至2021-9-4下午17:30
六、信息发布、报名方式及联系方式:
1、本次招标公告在伟德怎么下载链接网站www.wmswd.com和优质采电子招投标与采购平台www.youzhicai.com同时发布
2、电话报名后,通过优质采电子招投标与采购平台提交资料,
3、联系人: 廖颖 15827091070
李慧 13399570306
七、开标方式及时间:
1、通过优质采电子招投标与采购平台开标
2、时间另行通知
2021年9月2日